由于
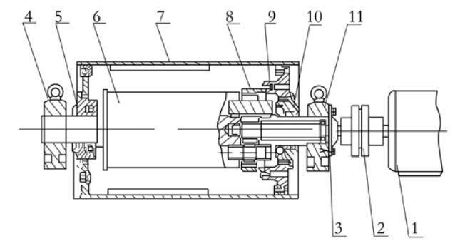
油冷式电动滚筒结构合理,因此它有着高的运行效率+使用方便。并且很多功能之所以能够较快发挥出来,也和它的结构有关系。根据下面提供的油冷式电动滚筒结构图,将会对其结构做出详细地解析(注:下面的标号分别对应着以下部件):
油冷式电动滚筒结构图如下:

1、电机:是电动滚筒的主要组成部分。
2、联轴器或偶合器:作为一种安全装置,防止油冷式电动滚筒承受过大的载荷,起到过载保护的作用。
3、小透盖:固定轴承,密封保护,防止电动滚筒进入杂质。
4、左支座:用来支承和固定滚筒。
5、左轴承座:它位于左侧,可以接受综合载荷,有轴承的地方就要有支撑点。
6、左法兰轴:实现轴与轴之间相互连接。
7、滚筒体:圆柱形,当油冷式电动滚筒启动时,它快速转动。
8、减速器:能够控制速度。匹配转速和传递转矩。
9、右端盖:它安装在电动滚筒后面的一个后盖。
10、右轴承座:它位于右侧,功能同左轴承座。
11、右支座:它的功能同左支座。
油冷式电动滚筒基本上有以上几部分组成,结构合理,操作方便,在各个输送机,电动机等设备使用广泛,整体运行较好比较平稳放心,型号多样,是诸多机器需要用到的一种滚筒设备。